摘要:介紹滬昆高鐵長沙至昆明段曲靖北站、富源站和嵩明站智能照明控制系統,系統采用KNX標準總線,通過安科瑞Acrel-iLight control智能照明控制系統后臺主機實現對高鐵站站臺、候車廳、售票廳、進出站通道以及靜態標識的控制。 關鍵詞:高鐵站 智能照明控制系統 KNX總線

0 概述

滬昆高鐵長沙至昆明鐵路客運專線云南段于2016年12月底順利通車,包括富源、曲靖北、嵩明、昆明四個站,其中富源、曲靖北、嵩明三個高鐵站采用安科瑞電氣股份有限公司Acrel-iLight control智能照明控制系統,用于控制全站的照明和靜態標識,并實現和消防系統的聯動控制。三個高鐵站站內照明控制包括候車廳、售票廳、站臺、進出站通道、靜態標識、廣告燈箱等區域的照明控制,現場均不設置控制面板,全部通過中控室的主機進行集中控制,達到提高控制效率、節能的目的。

1 系統結構描述

本監控系統主要實現曲靖北站、富源站和嵩明站三個高鐵站照明回路的遠程控制。三個高鐵站每個站配置一套安科瑞智能照明控制軟件,系統部署在高鐵站中控室,現場所有智能照明控制模塊安裝在照明控制箱,采用KNX總線接入智能照明網關,從而完成高鐵站的智能照明控制系統

KNX總線是歐洲標準的智能照明控制總線,采用EIB-BUS 2*2*0.8線纜(兩芯備用)。兩芯通訊線纜同時傳輸通訊信號和提供模塊DC30V電源,傳輸距離超過1000米,拓撲結構靈活,非常適用于現場布線和實時控制。

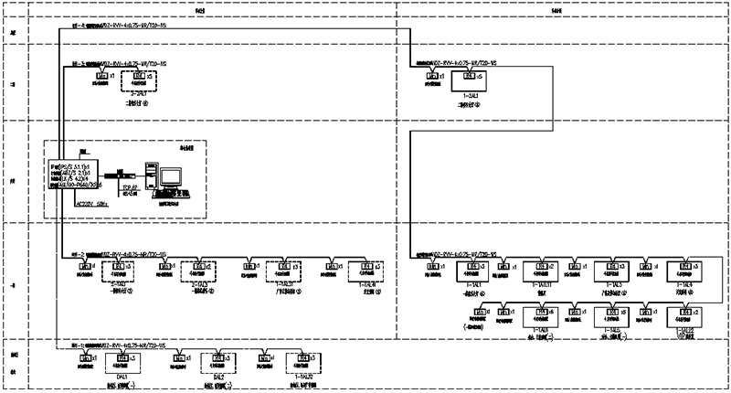
本監控系統采用分層分布式結構,即站控層,通訊層與間隔層;如圖(1)所示:


圖(1)網絡拓撲圖

間隔設備層主要為:智能照明控制模塊和開關量采集模塊。智能照明控制模塊和開關量模塊安裝于照明電氣柜內,控制器模塊用于控制回路通斷,開關量模塊用于接入消防強啟信號,控制應急照明(曲靖北站設置了專門的應急照明和疏散指示系統,富源和嵩明兩站通過智能照明控制器控制應急照明)。這些裝置均通過現場KNX總線組網通訊。

網絡通訊層主要為:智能照明網關,通過KNX總線采集現場控制器和開關量模塊數據,轉換成以太網上傳至站控層,完成現場層和站控層之間的數據交互。 ??站控管理層:設有高性能工業計算機、顯示器、UPS電源、打印機等設備。照明控制軟件安裝在計算機上,通過軟件界面監視照明回路工作情況,并遠程控制照明回路的通斷。

軟件可以實現單控和群控功能:單獨控制某一個照明回路或者控制某一個區域的照明,這些功能都可以通過后臺軟件設置,便于靈活控制。

2 Acrel-iLight control智能照明監控系統主要功能

2.1 定時控制

通過時鐘管理器,實現整個系統的有關區域照明的定時和自動管理功能,實現公共通道、景觀照明、泛光照明、車庫照明定時控制。節假日或非工作日時段照明定時關閉、定時通知等,一般用于公司、路燈、景觀照明等,本項目是高鐵站,人流比較密集,不適合定時控制模式。

2.2場景控制

智能照明控制系統根據各個區域的需求,設定不同種類的場景模式,可以編程設定預設的照明方案,一鍵控制,也可以按照區域實現單控、群控方案。

2.3人體感應控制

在辦公走道和樓梯內,布置人體感應傳感器。在有人員進入區域時,自動開打開照明。當人員離開后,延遲一段時間再關閉。若延遲時間內有人進入,則重新進入打開模式,以達到節能目的。并且可以設置白天有效,晚上無效,根據需求設定。

2.4實時監控

中央控制室,配置中控主機,所有照明控制設備,通過KNX網關,接入監控系統,操作管理人員,可以通過中控電腦,實時監視總線、區域、樓層、樓棟等照明狀態,并可根據需求進行控制調整。系統繪圖工具支持向量圖和多層頁面,圖形頁面縮放方便,切換簡單,支持DXF、WMF、BMP、JPG、ICON等圖形對象的嵌入、支持二維、三維圖元的繪制,增加可視化的空間效果。

2.5報警處理

系統提供了警報處理能力,用戶可采用編程來完成不同的任務,當某種警報條件出現時應做什么,可由用戶自行確定。

2.6系統聯動

系統可以輸入模塊,接受其他系統或工作人員的強切信號;實現安防系統、廣播系統、會議系統,甚至消防系統的聯動控制,控制相應燈具點亮和設備啟停。本項目三個高鐵站都實現了和消防信號的聯動控制。

3 案例分析

站內照明控制包括候車廳、售票廳、站臺、進出站通道、靜態標識、廣告燈箱等區域的照明控制,現場均不設置控制面板,全部通過中控室的主機進行集中控制。

一樓單回路控制見圖,主要實現一樓候車廳、售票廳、1~3#站臺的單點控制,可以控制任意一個照明回路的通斷。


一樓照明單控示意圖

二樓單控界面見圖,主要是控制二樓候車大廳和廣廳的單回路控制。


二樓候車大廳單回路控制示意圖

出站通道照明控制見圖,用于對出站通道的照明、廣告燈箱、應急照明進行控制,應急指示燈根據消防強切信號來控制該部分的照明通斷,也可手動來控制應急指示燈。


出站通道控制界面示意圖

區域群體控制或場景控制界面見圖,用于對整個站內照明進行群體控制和預設的場景控制。可以根據需求預設多種控制場景,可以單次點擊控制一整個區域或者整個站臺的照明。


區域或場景控制界面示意圖

4 結束語

智能照明監控系統已成為全國各地工程項目、標志性建筑/大型公共設施等大面積多用戶的標準配置,包含軌道交通、商業廣場、市政建筑等等。本文介紹的Acrel-iLightControl智能照明監控系統在曲靖北站、富源站和嵩明站的應用,實現單點控制、區域控制、場景控制等多種控制方式,使照明系統按照預先設定的各種模式工作,節能減耗、提高工作效率、提高管理水平。